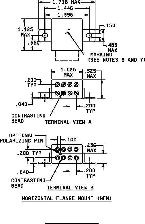
MIL-PRF-83536-11 Relays, Electromagnetic, Established Reliability, Dpdt, Low Level To 10 Amperes, Permanent Magnet Drive, Hermetically Sealed, All Welded, Ac Coils