
MIL-PRF-6106/9E
REQUIREMENTS
Weight: 001 and 002 - 10.5 ounces maximum.
003 and 004 - 11.5 ounces maximum.
Temperature range: -55C to +71C.
Maximum altitude rating: 50,000 feet 1/.
Shock g-level: ½ sine, 25 g's.
Duration: 6 to 9 ms.
Maximum duration contact opening: 1 ms.
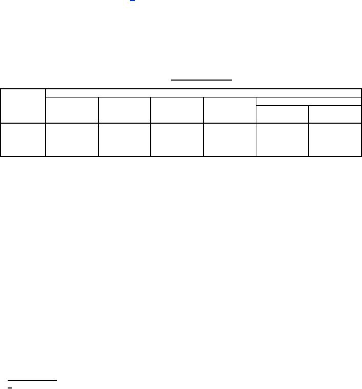
Vibration-sinusoidal: See table III.
TABLE III. Vibration-sinusoidal.
Vibration level
Dash
800 - 2000 Hz
-55C and
+71C
No.
5-10 Hz
10-55 Hz
55-400 Hz
400-800 Hz
25C
-001
10 g's
10 g's
10 g's
7 g's
-002
10 g's
8 g's
8 g's
7 g's
.08 DA
.06 DA
-003
10 g's
10 g's
10 g's
7 g's
-004
10 g's
8 g's
8 g's
7 g's
Vibration (random): Not applicable.
Acceleration: 15 g's/
Seal:
Applicable specification: MIL-STD-202, method 112, test condition C, procedure IV.
-4
Leak rate: 6x10 STD cc/s.
Strength of terminals and mounting studs:
Torque:
Main terminals: 24 inch-pounds maximum, 18 inch-pounds recommended installation torque.
Auxilary terminals: 4.4 inch-pounds maximum, 3.3 inch-pounds recommended installation torque.
Insulation resistance, initial: 200 megohms minimum.
After life or environmental tests: 100 megohms minimum.
1/ Application range can be extended to 80,000 feet by suitably encapsulating the terminals.Dielectric withstanding
voltage (sea level) 2 to 5 seconds.
4
For Parts Inquires call Parts Hangar, Inc (727) 493-0744
© Copyright 2015 Integrated Publishing, Inc.
A Service Disabled Veteran Owned Small Business