
INCH-POUND
MIL-PRF-6106/9E
22 September 2011
SUPERSEDING
MIL-PRF-6106/9D
10 November 2000
PERFORMANCE SPECIFICATION SHEET
RELAY, ELECTROMAGNETIC, CONTINUOUS DUTY, 60 AMP,
3PDT, ENVIRONMENTALLY SEALED
This specification is approved for use by all Departments
and Agencies of the Department of Defense.
The requirements for acquiring the relay described herein shall
consist of this specification and the latest issue of MIL-PRF-6106.
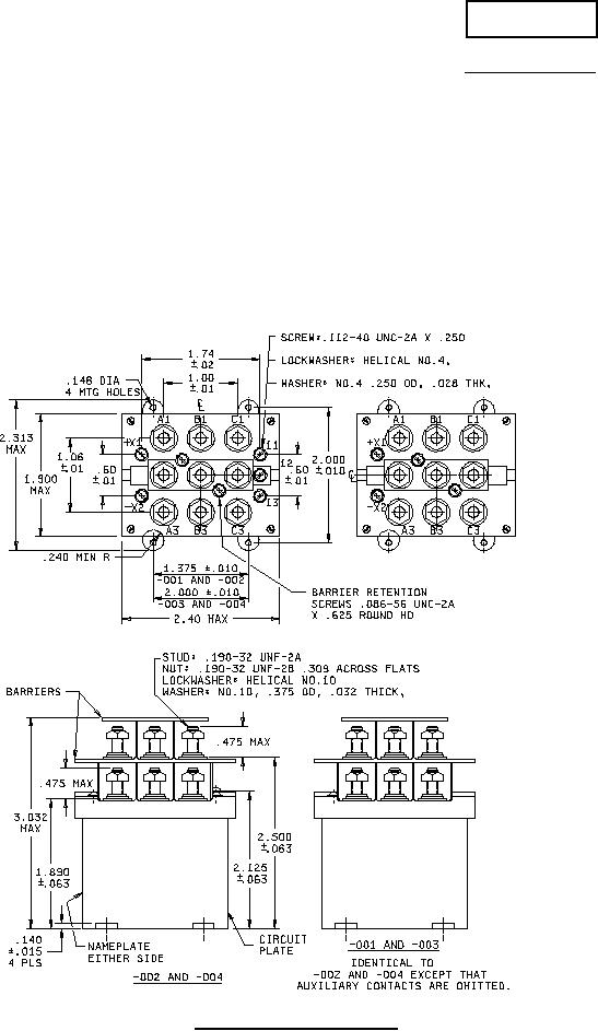
FIGURE 1. Configurations and dimensions.
AMSC N/A
FSC 5945
For Parts Inquires call Parts Hangar, Inc (727) 493-0744
© Copyright 2015 Integrated Publishing, Inc.
A Service Disabled Veteran Owned Small Business