
MIL-PRF-39016/9J
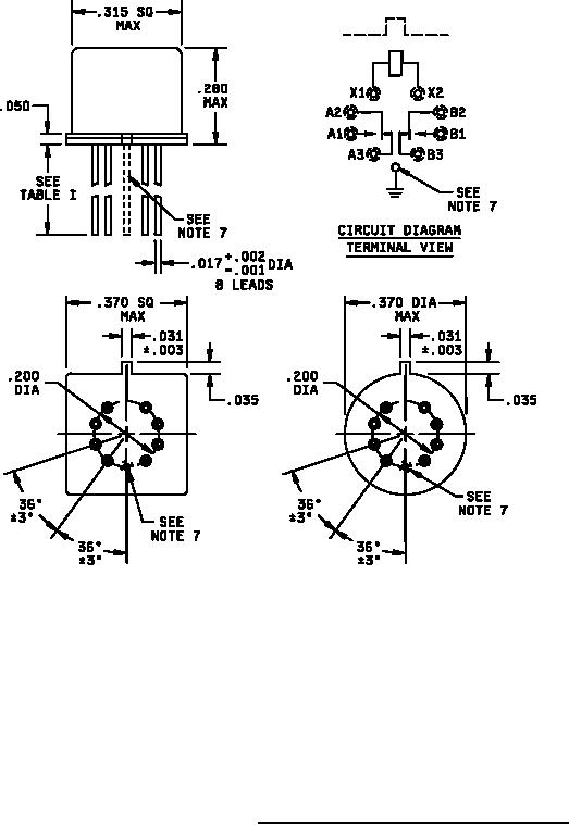
Inches
mm
.001
0.03
.002
0.05
.003
0.08
.017
0.43
.031
0.79
.035
0.89
.050
1.27
.200
5.08
.280
7.11
.335
8.51
.370
9.40
NOTES:
1. Dimensions are in inches.
2. Metric equivalents are given for general information only.
3. Unless otherwise specified, tolerance is ±.010 (0.25 mm).
4. Coil symbol optional in accordance with MIL-STD-1285.
5. Circuit diagram shown on part is the terminal view.
6. Shape optional within the envelope dimension.
7. The grounding pin shown is a noninsulated case ground applicable to -092 through -098.
FIGURE 2. Dimensions and configuration (square or round).
2