
MIL-PRF-39016/20J
Inches
mm
.001
0.03
.002
0.05
.003
0.08
.017
0.43
.031
0.79
.035
0.89
.050
1.27
.200
5.08
.280
7.11
.315
8.00
.370
9.40
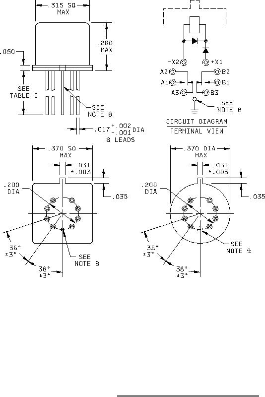
NOTES:
1. Dimensions are in inches.
2. Metric equivalents are given for general information only.
3. Unless otherwise specified, tolerance is ±.010 (0.25 mm).
4. Relays shall have a plus (+) sign placed on the circuit diagram as shown.
5. Coil symbol optional in accordance with MIL-STD-1285.
6. Circuit diagram shown on part is the terminal view.
7. Shape optional within envelope dimension.
8. The grounding pin shown is a non-insulated case ground applicable to -085 through -090 only.
FIGURE 2. Dimensions and configuration (square or round).
2
For Parts Inquires call Parts Hangar, Inc (727) 493-0744
© Copyright 2015 Integrated Publishing, Inc.
A Service Disabled Veteran Owned Small Business