
INCH-POUND
MIL-PRF-28776/1G
23 June 2003
SUPERSEDING
MIL-PRF-28776/1F
8 July 1996
PERFORMANCE SPECIFICATION SHEET
RELAYS, HYBRID, ESTABLISHED RELIABILITY, DPDT,
LOW-LEVEL TO 1.0 AMPERE (TRANSISTOR DRIVEN) (ELECTROMECHANICAL OUTPUT)
This specification sheet is approved for use by all Departments
and Agencies of the Department of Defense.
The complete requirements for acquiring the relays described herein shall
consist of this specification sheet and the latest issue of MIL-PRF-28776.
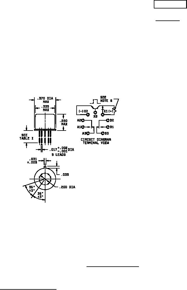
Inches
mm
.001
0.03
.002
0.05
.003
0.08
.017
0.43
.031
0.79
.035
0.89
.200
5.08
.280
7.11
.335
8.51
.370
9.40
NOTES:
1. Dimensions are in inches.
2. Metric equivalents are given for general information only.
3. Unless otherwise specified, tolerance is ±.010 (0.25 mm).
4. Terminal numbers shown above are for reference only. Numbers do not appear on the relay.
5. Relays shall have a plus (+) sign placed on the circuit diagram as shown.
6. Coil symbol optional in accordance with MIL-STD-1285.
7. Circuit diagram shown on part is the terminal view.
FIGURE 1. Dimensions and configuration.
AMSC N/A
1 of 8
FSC 5945
DISTRIBUTION STATEMENT A. Approved for public release; distribution is unlimited.