emilspec
An Integrated Publishing, Inc. Site
eMilSpec
An Integrated Publishing Website
MIL-PRF-83726-30 Relay, Hybrid, Time Delay \(On Operate\), Class B, Type I, Hermetically Sealed, Dpdt, 10 Amperes, Adjustable Time Delay \(External Resistor\), 0.1 To 500 Seconds
Pages
1
-
2
-
3
-
4
-
5
-
6
MIL-PRF-83726/30J
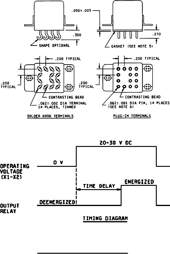
FIGURE 1. Outline dimensions and configuration
of relay Continued.
2
For Parts Inquires call
Parts Hangar, Inc
(727) 493-0744
© Copyright 2015 Integrated Publishing, Inc.
A Service Disabled Veteran Owned Small Business