
MIL-PRF-83536/19B
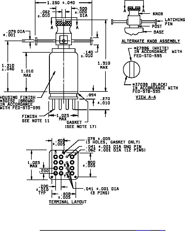
FIGURE 2. Outline dimensions and configuration, track mount (see notes 16 and 17).
6
For Parts Inquires call Parts Hangar, Inc (727) 493-0744
© Copyright 2015 Integrated Publishing, Inc.
A Service Disabled Veteran Owned Small Business