
INCH-POUND
MIL-PRF-6106/41C
22 March 2012
SUPERSEDING
MIL-PRF-6106/41B
10 November 2000
PERFORMANCE SPECIFICATION SHEET
RELAY, ELECTROMAGNETIC, 25 AMPERES, 3PNO, WITH 2 AMPERE
1PDT AUXILIARY CONTACTS, HERMETICALLY SEALED, TYPE I
Inactive for new design after 15 November 2002. No superseding
This specification is approved for use by all Departments
and Agencies of the Department of Defense.
The requirements for acquiring the relays described herein shall
consist of this specification and the latest issue of MIL-PRF-6106.
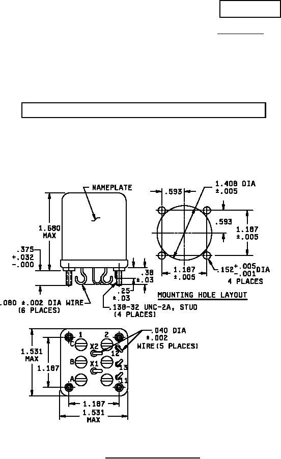
FIGURE 1. Dimensions and configurations.
AMSC
FSC 5945
For Parts Inquires call Parts Hangar, Inc (727) 493-0744
© Copyright 2015 Integrated Publishing, Inc.
A Service Disabled Veteran Owned Small Business