
INCH-POUND
MIL-PRF-6106/19G
18 November 2011
SUPERSEDING
MIL-PRF-6106/19F
10 November 2000
PERFORMANCE SPECIFICATION SHEET
RELAY, ELECTROMAGNETIC PERMANENT MAGNET DRIVE,
25 AMPERES, SPDT, HERMETICALLY SEALED
This specification is approved for use by all Departments
and Agencies of the Department of Defense.
The requirements for acquiring the relay described herein shall
consist of this specification sheet and MIL-PRF-6106.
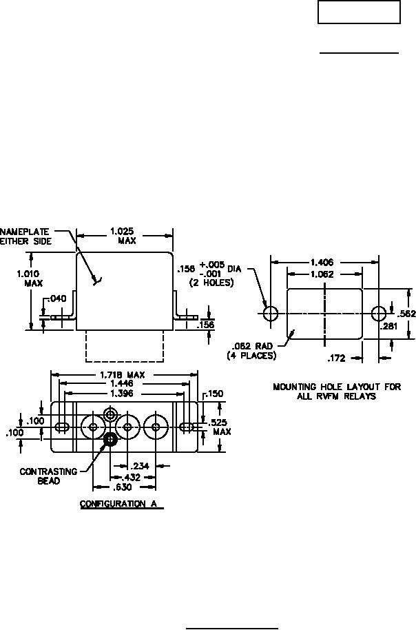
FIGURE 1. Relay, outline drawing.
AMSC N/A
FSC 5945
For Parts Inquires call Parts Hangar, Inc (727) 493-0744
© Copyright 2015 Integrated Publishing, Inc.
A Service Disabled Veteran Owned Small Business