
MIL-PRF-39016/43E
Inches
mm
.001
0.03
.002
0.05
.003
0.08
.005
0.13
.014
0.36
.017
0.43
.031
0.79
.035
0.89
.047
1.93
.100
2.54
.170
4.32
.300
7.62
.335
8.51
.370
9.40
.375
9.52
.400
10.16
.500
12.70
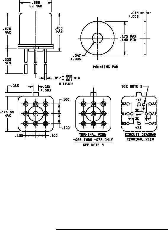
NOTES:
1. Dimensions are in inches.
2. Metric equivalents are given for general information only.
3. Unless otherwise specified, tolerance is ±.010 (0.25 mm).
4. Terminal numbers shown above are for reference only. Numbers do not appear on relay.
5. Relays shall have a plus (+) sign placed on the circuit diagram as shown.
6. Coil symbol optional in accordance with MIL-STD-1285.
7. Circuit diagram shown on part is the terminal view.
8. Spacer mounting pad shall be a polyester film per MIL-I-631, type G, class I.
9. The grounding pin shown is a non-insulated case grounding pin applicable to -065 through -072 only.
FIGURE 2. Dimensions and configuration (relay with spacer mounting pad).
2
For Parts Inquires call Parts Hangar, Inc (727) 493-0744
© Copyright 2015 Integrated Publishing, Inc.
A Service Disabled Veteran Owned Small Business