
MIL-PRF-39016/29G
NOTES:
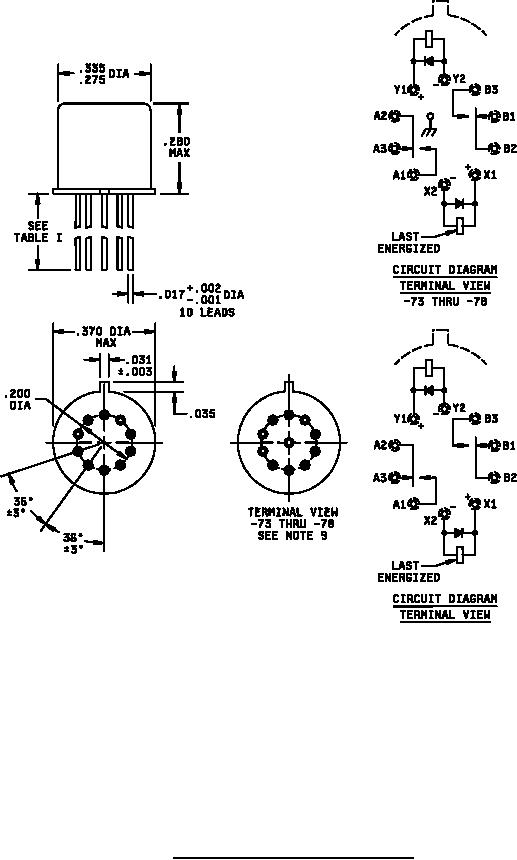
1. Dimensions are in inches.
2. Metric equivalents are given for general information only.
3. Unless otherwise specified, tolerance is ±.010 (0.25 mm).
4. Terminal numbers shown above for reference only. Numbers do not appear on relay.
5. Relays shall have a plus (+) sign placed on the circuit diagram as shown.
6. All leads shall be electrically insulated from the case.
7. Coil symbol optional in accordance with MIL-STD-1285.
8. Circuit diagram shown on part is the terminal view.
9. M39016/29-073 through M39016/29-078 shall be supplied with a case grounding pin welded to the relay
header as shown.
FIGURE 2. Dimensions and configuration - 10 leads.
2
For Parts Inquires call Parts Hangar, Inc (727) 493-0744
© Copyright 2015 Integrated Publishing, Inc.
A Service Disabled Veteran Owned Small Business