
MIL-PRF-39016/17H
Inches
mm
Inches
mm
.001
0.03
.100
2.54
.002
0.05
.170
4.32
.003
0.08
.335
8.51
.017
0.43
.370
9.40
.031
0.79
.375
9.53
.035
0.89
.400
10.16
.047
1.93
.500
12.70
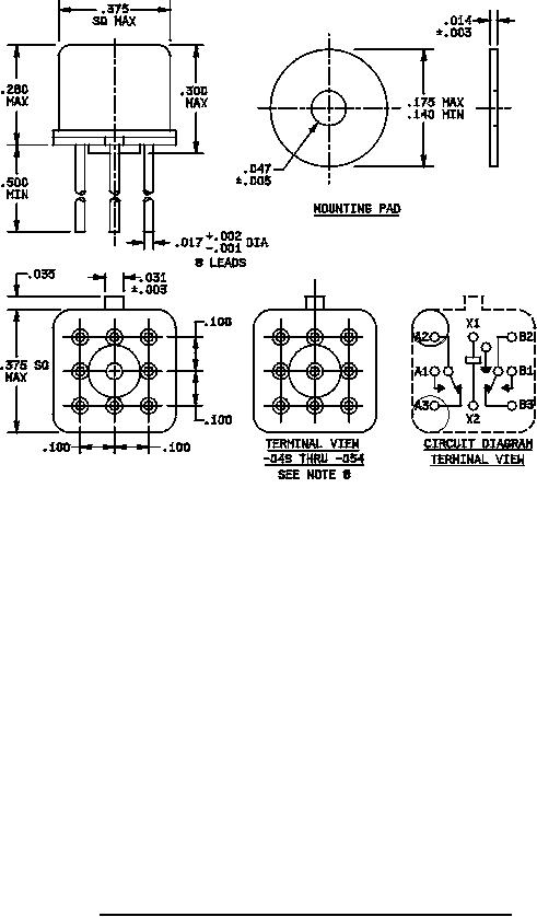
NOTES:
1. Dimensions are in inches.
2. Metric equivalents are given for general information only.
3. Unless otherwise specified, tolerance is ±.010 (0.25 mm).
4. Terminal numbers shown above for reference only. Numbers do not appear on relay.
5. Coil symbol optional in accordance with MIL-STD-1285.
6. Circuit diagram shown on part is the terminal view.
7. Spacer mounting pad shall be a polyester film per MIL-I-631, Type G, Class I.
8. M39016/17-049 through -054 shall be supplied with a case grounding pin welded to the relay header as shown.
FIGURE 2. Dimensions and configuration (relay with spacer mounting pad).
2