
MIL-PRF-39016/15L
Inches
mm
.001
0.03
.002
0.05
.003
0.08
.012
0.30
.016
0.41
.017
0.43
.031
0.79
.035
0.89
.100
2.54
.150
3.81
.200
5.08
.275
6.99
.300
7.62
.335
8.51
.370
9.40
.398
10.11
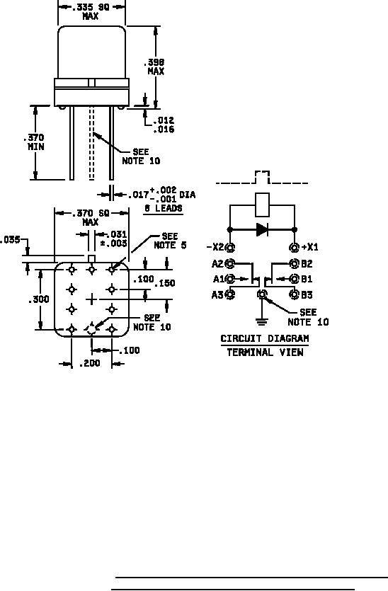
NOTES:
1. Dimensions are in inches.
2. Metric equivalents are given for general information only.
3. Unless otherwise specified, tolerance is ±.010 (0.25 mm).
5. Dimensions and tolerances shown for the bottom view of the spreader mounting pad are for the center-to
-center locations of the holes in the spreader mounting pad.
6. Shape optional within the envelope dimension.
7. Coil symbol optional in accordance with MIL-STD-1285.
8. Relays shall have a plus (+) sign placed on the circuit diagram as shown.
9. Circuit diagram shown on part is the terminal view.
10. The grounding pin shown is applicable to dash numbers -113 through -118 only and is a noninsulated case
ground (see table I).
FIGURE 3. Dimensions and configuration relay with spreader mounting pad
(.100 x .200 terminal spacing) attached (square or round).
3
For Parts Inquires call Parts Hangar, Inc (727) 493-0744
© Copyright 2015 Integrated Publishing, Inc.
A Service Disabled Veteran Owned Small Business