
INCH-POUND
AN3362
REVISION 7
12 AUGUST 2010
SUPERSEDING
REVISION 6
27 October 1999
DETAIL SPECIFICATION SHEET
RELAY, 100 AMP, 2PST,
UNSEALED, CLASS O, TYPE II
INACTIVE FOR NEW DESIGN
AFTER 30 AUGUST 1957
This specification is approved for use by all
Departments and Agencies of the Department of Defense.
The requirements for acquiring the product described herein shall consist
of this specification and MIL-PRF-6106.
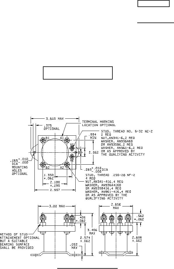
FIGURE 1. Configurations and dimensions.
AMSC N/A
FSC 5945
For Parts Inquires call Parts Hangar, Inc (727) 493-0744
© Copyright 2015 Integrated Publishing, Inc.
A Service Disabled Veteran Owned Small Business