emilspec
An Integrated Publishing, Inc. Site
eMilSpec
An Integrated Publishing Website
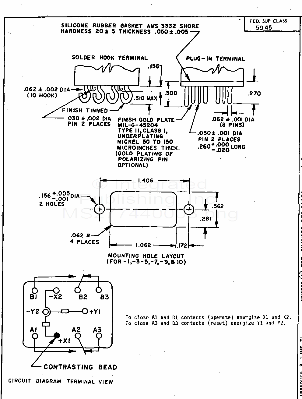
MS27744 Relays, Electromagnetic, Magnetic Latch, 10 Amperes, 2 Pdt, All Welded, Hermetically Sealed (S/S By Mil-R-6106/50)
For Parts Inquires call
Parts Hangar, Inc
(727) 493-0744
© Copyright 2015 Integrated Publishing, Inc.
A Service Disabled Veteran Owned Small Business