emilspec
An Integrated Publishing, Inc. Site
eMilSpec
An Integrated Publishing Website
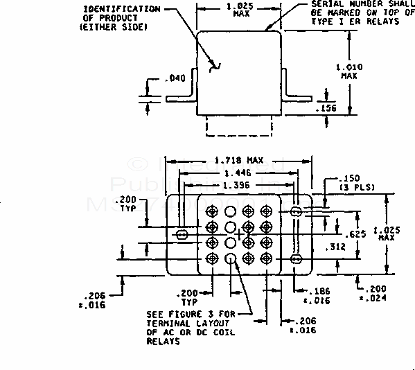
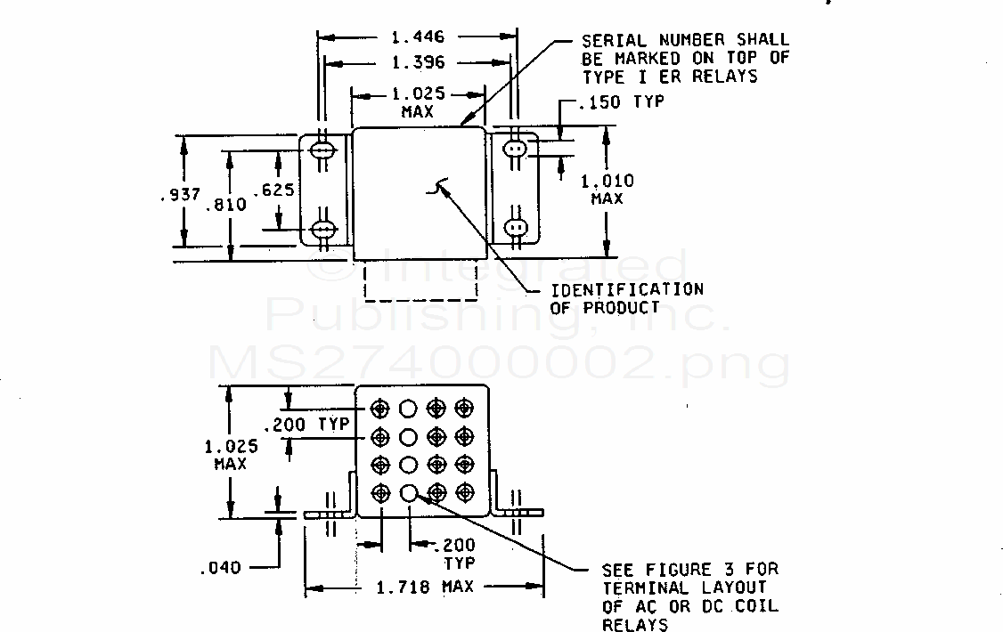
MS27400 Relays, Electromagnetic, Type I, (Including Established Reliability (Er) Types), Permanent Magnet Drive, 10 Amperes, 4Pdt, Hermetically Sealed (S/S By Mil-R-83536/15, 16, And 17)
For Parts Inquires call
Parts Hangar, Inc
(727) 493-0744
© Copyright 2015 Integrated Publishing, Inc.
A Service Disabled Veteran Owned Small Business